Apple освоит виртуальную реальность?

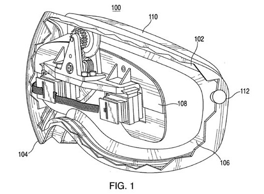
Патентное ведомство США опубликовало информацию о заявке, поданной компанией Apple. Речь идёт о высокотехнологичных очках, обеспечивающих максимальное погружение в виртуальный мир.
В заявке описывается носимое на голове устройство, имеющее два небольших экрана для глаз, а также систему слежения за поворотами головы и даже взгляда. Таким образом, человек в этих очках сможет осматриваться в виртуальном помещении — будь то зал, стадион, кинотеатр или любая другая обстановка. Согласно описанию патента, очки могут быть подключены как к iPhone или iPod, так и обычному компьютеру. О перспективах разработки не известно. Конечно, получение патента вовсе не означает, что устройство пойдёт в производство.
Дата публикации: 08.11.2008
Уважаемый посетитель, Вы зашли на сайт как незарегистрированный пользователь. Мы рекомендуем Вам зарегистрироваться либо войти на сайт под своим именем.
Комментарии
Оставлять комментарии возможно только через 10 дней после регистрации.
